● Standard: IEC61009-1, IEC62026
● Protection: Series and parallel arc fault detection, Combined arc fault detection, short circuit, overload, and earth leakage detectio
● Type of RCBO: AC, A
● Rated current: 6~40A
● Rated voltage: 230/240~
● Number of poles: 1P+N (with switched neutral)
● Rated Residual Operating Current (IAn): 10, 30, 100, 300mA
● Rated short-circuit breaking capacity: 6kA
● Tripping curve: B, C
● Ambient air temperature: -25...+40 ºC
● Connection: From bottom
● Certificates: CE, CB
In AC single-phase circuits not exceeding 230V, that includes ring circuits, radials etc. Where used, AFDD shall be placed at the origin of the circuit to be protected.
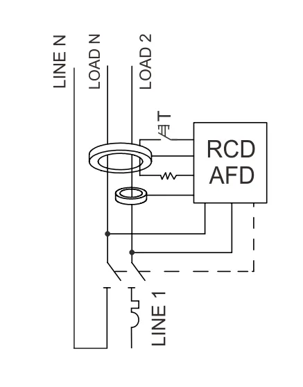
EKL17-40AFD devices are a single module device which fits the existing busbar system of the existing arrangement. The device offers protection against overcurrent, short circuit, earth leakage and arc fault all in one device and are available in B & C Curve variants. It can direct replacement RCBO in existing consumer units.
| Over Current | Short Circuit | Earth Leakage | Series Arc Fult | Parallel Arc Fult | |
| MCB | √ | √ | × | × | × |
| RCCB | × | × | √ | × | × |
| RCBO | √ | √ | √ | × | × |
| AFDD | × | × | × | √ | √ |
| AFDD Integrated with RCBO | √ | √ | √ | √ | √ |
Limit values of break time for Ue 230V AFDD
|
Test arc current (r.m.s.values)
|
Max breaking time
|
|
2.5A
|
1S
|
|
5A
|
0.5S
|
|
10A
|
0.25S
|
|
16A
|
0.15S
|
|
32A
|
0.12S
|
|
63A
|
0.12S
|
Note:
1. The test arc current is the expected current before ignition occurs in the test circuit.
2. Low arc currents can occur due to insulation faults phase to earth or series arcing.
|
Standard
|
IEC/EN61009-1, IEC62026
|
|
Protection
|
Arc Fault Protection, Overload Protection,
Short-Circuit Protection, Earth-Leakage Protection
|
|
Type of trip
|
Ground fault: Electronic
|
|
Overload and short circuit: Thermo-magnetic
|
|
|
Type of protection (electric leakage)
|
A
|
|
No. of poles
|
1P+N (N pole can be connected and disconnected)
|
|
Rated currents (In)
|
6, 10, 16, 20, 25, 32, 40A
|
|
Rated sensitivity currents IΔn
|
10, 30, 100, 300mA
|
|
Residual current off-time under IΔn
|
≤ 0.1s
|
|
Reted residual making and breaking capacity (IΔm)
|
500A
|
|
Rated voltage (Ue)
|
230/240V
|
|
Rated frequency
|
50/60Hz
|
|
Rated breaking capacity
|
6,000A
|
|
Energy Limiting Class
|
3
|
|
Rated impulse withstandard voltage (1.5/50) Uimp
|
4,000V
|
|
Dielectric test voltage at Ind.Freq. for 1 min
|
2kV
|
|
Thermal release characteristic
|
(1.13-1.45) ×In
|
|
Magnetic release characteristic
|
B: (3-5) ×In, C: (5-10) ×In
|
|
Electrical life
|
4,000 Cycles
|
|
Mechanical life
|
10,000 Cycles
|
|
Contact position indicator
|
Yes
|
|
Protection degree
|
IP20
|
|
Ambient temperature
|
-25℃ to +40℃, Max.95% humidity
|
|
Terminal connection type
|
Cable/Pin-type busbar
|
|
Max. terminal size for cable
|
L(in): 25mm², N/L(out): 16mm2
|
|
Max. tightening torque
|
L(in): 2.5N.m, N/L(out): 2N.m
|
|
Installation
|
Mounting on 35mm DIN rail
|
|
Connection
|
From bottom
|


| AFDD/RCBO EK17-40AFD (B Curve) | ||||
| Rated Current(A) |
Sensitivity | |||
| 10mA | 30mA | 100mA | 300mA | |
| 6A | EKL17-40AFD-1NB0610A | EKL17-40AFD-1NB0630A | EKL17-40AFD-1NB06100A | EKL17-40AFD-1NB06300A |
| 10A | EKL17-40AFD-1NB1010A | EKL17-40AFD-1NB1030A | EKL17-40AFD-1NB10100A | EKL17-40AFD-1NB10300A |
| 16A | EKL17-40AFD-1NB1610A | EKL17-40AFD-1NB1630A | EKL17-40AFD-1NB16100A | EKL17-40AFD-1NB16300A |
| 20A | EKL17-40AFD-1NB2010A | EKL17-40AFD-1NB2030A | EKL17-40AFD-1NB20100A | EKL17-40AFD-1NB20300A |
| 25A | EKL17-40AFD-1NB2510A | EKL17-40AFD-1NB2530A | EKL17-40AFD-1NB25100A | EKL17-40AFD-1NB25300A |
| 32A | EKL17-40AFD-1NB3210A | EKL17-40AFD-1NB3230A | EKL17-40AFD-1NB32100A | EKL17-40AFD-1NB32300A |
| 40A | EKL17-40AFD-1NB4010A | EKL17-40AFD-1NB4030A | EKL17-40AFD-1NB40100A | EKL17-40AFD-1NB40300A |
| AFDD/RCBO EK17-40AFD (C Curve) | ||||
| 6A | EKL17-40AFD-1NC0610A | EKL17-40AFD-1NC0630A | EKL17-40AFD-1NC06100A | EKL17-40AFD-1NC06300A |
| 10A | EKL17-40AFD-1NC1010A | EKL17-40AFD-1NC1030A | EKL17-40AFD-1NC10100A | EKL17-40AFD-1NC10300A |
| 16A | EKL17-40AFD-1NC1610A | EKL17-40AFD-1NC1630A | EKL17-40AFD-1NC16100A | EKL17-40AFD-1NC16300A |
| 20A | EKL17-40AFD-1NC2010A | EKL17-40AFD-1NC2030A | EKL17-40AFD-1NC20100A | EKL17-40AFD-1NC20300A |
| 25A | EKL17-40AFD-1NC2510A | EKL17-40AFD-1NC2530A | EKL17-40AFD-1NC25100A | EKL17-40AFD-1NC25300A |
| 32A | EKL17-40AFD-1NC3210A | EKL17-40AFD-1NC3230A | EKL17-40AFD-1NC32100A | EKL17-40AFD-1NC32300A |
| 40A | EKL17-40AFD-1NC4010A | EKL17-40AFD-1NC4030A | EKL17-40AFD-1NC40100A | EKL17-40AFD-1NC40300A |
